
When Dr. Salvatore Cezar Pais, an aerospace engineer at the Naval Air Warfare Center Aircraft Division (NAWCAD), filed a patent for a “Plasma Compression Fusion Device” in 2019, it was either a giant breakthrough – or mad science. According to the patent application, the miniature device could contain and sustain fusion reactions capable of generating power in the gigawatt (1 billion watts) to terawatt (1 trillion watts) range or more. A large coal plant or mid-size nuclear powered reactor by comparison produces energy in the 1–2 gigawatt range. The revolutionary invention by Dr. Pais, if real, would produce near unlimited clean energy from something no larger than a sports utility vehicle.
Dr. Pais’ fusion device is among a handful of outlandish technologies dubbed “The UFO patents” that have, in some shape or form, been pursued by the U.S. Navy.
I’ve written before with some skepticism on the implications of Dr. Pais’ purported compact fusion reactor for U.S. energy independence. The physicist appears to have bona fide credentials including a Ph.D. from Carnegie Mellon, and published some of his work, while much is presumably classified.
He has been employed by the Pentagon for decades. And this isn’t the first patent filed in his name, and all of them appear centered around what he calls the Pais Effect. Dr. Pais posits that by controlling the accelerated spin or vibration of electrically charged matter, high energy electromagnetic fields can be produced.
One proposed use for such fields is an “electromagnetic field generator” device which could be applied to alter the trajectory of earthbound asteroids over a period of time. While the patent makes clear that such a device would work only on “small” asteroids of under roughly 100 meters length or less, it isn’t hard to grasp the interest of any defense agency in providing contingencies for such a scenario.
Dr. Pais’ “inertial mass reduction device” is one of his most extraordinary patents. This technology suggests manipulation of quantum field fluctuations which could reduce a vehicle’s inertial and gravitational mass, allowing it to travel at hitherto unseen speeds. The reason the speed of light is something of a universal speed limit is that mass increases to infinite as one reaches it, demanding infinite energy to continue moving. The ability to reduce mass could have incredible implications for the future of space travel. Only faster than light speeds of travel would allow the humanity to venture outside of the solar system.
His High Temperature Superconductor patent would, like a fusion device, revolutionize global energy systems. Superconductors have no electrical resistance, meaning electricity can be transferred without loss of energy to unlimited distances. That could mean quite a drop in energy costs, but getting any superconductor to operate even as warm as room temperature is a longstanding problem.
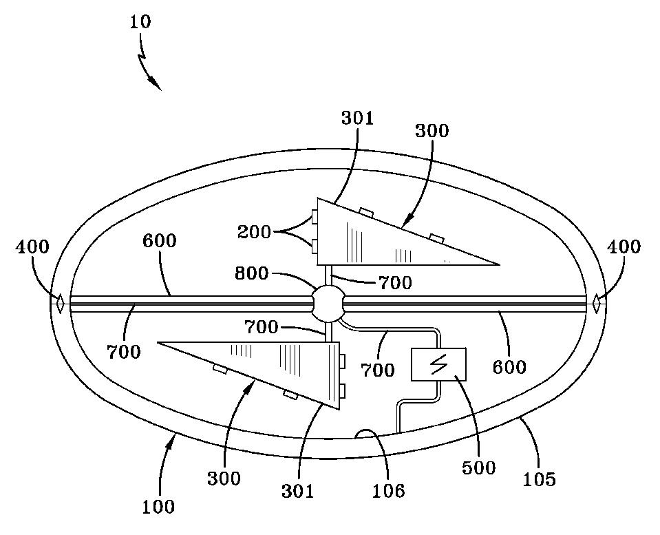
Last but not least is what Pais calls a high frequency gravitational wave generator. The patent purports that the electromagnetic fields created by the Pais Effect could be intersected, generating waves of gravity upon which a spaceship could propel itself to its destination. Such waves could also be used to deflect asteroids more efficiently or communicate through solid objects.

High frequency gravitational wave generator. Per the description: A high frequency gravitational ... [+]Google Patents
Any one of these “UFO” patents would transform modern science and society. It might be too early to break out the champagne, though. While Dr. Pais has spoken confidently about his work in the past, the Navy recently threw cold water on hopes of a breakthrough.
Queries about his experiments were met with confirmation that a three-year $508,000 assessment had found no proof of the Pais Effect. For now at least, the odds are good that the Navy may not lead the energy revolution, while President Joe Biden expends political capital squaring off against fossil fuel companies.
That brings us back to his fusion device. Even if Dr. Pais is wrong, it doesn’t mean fusion is going to stay the stuff of science fiction forever, though. The International Thermonuclear Experimental Reactor (ITER) project, an initiative with roots stretching back to a November 1985 summit between Reagan and Gorbachev, is currently scheduled to generate its first “small star” in November 2025. Various projects are racing them there, all with that shared goal of 2025.
All this is to say that fusion might no longer be perpetually thirty years away.
With some tangible, well-funded projects underway, it raises the question of why the Navy has previously gone to bat for Dr. Pais — and his ideas, which seem considerably ahead of their time if not outright implausible. The other possibilities are worth pondering though.

A picture shows winding facility for the construction of poloidal field coils which will be part of ... [+]
AFP via Getty ImagesOccam’s Razor would suggest there might be something there. A genuine breakthrough in theoretical physics so advanced would require serious and well-funded lab work and prototype experimentation for years or even decades. Think of the long journey from J.J. Thompson’s discovery of the electron (1897) and Rutherford’s atomic model (1911) to the Manhattan Project (1939-1946). There are defense applications to most physics breakthroughs, and that is plenty incentive to invest in any potential Enrico Fermi, Niels Bohr, Albert Einstein, or Andrey Sakharov. The patents could be a sort of hedging, ensuring the United States can claim it was there first.
A second explanation is that is a U.S. disinformation operation to entice our adversaries into spending billions of dollars on dead-end research. That was more or less the initial thinking behind President Reagan’s “Star Wars” initiative. By faking data, the officials behind the program hoped to entice the Soviets to burn billions for a then-non-viable space-based missile defense system. Sending China on a wild goose chase for the Pais Effect would be a clever use of half a million dollars. Otherwise, his research would be deeply classified and not patented.
Lastly, and most out there, Dr. Pais’ patents could be a cover for alien technology. If the recent disclosure by the Pentagon of possible encounters with extraterrestrial artifacts is true, such technology may be in the U.S. Government’s possession. Talk about a low probability, high impact event!
I am not sure if we will see Faster Than Light space travel any time soon, but with or without Dr. Salvatore Cezar Pais, the race for fusion power is on, and we are likely to see a successful result within our lifetime.
Ariel Cohen & Danny Tomares
Comment by Oliviero Mannucci: I invite the authors to read this book. After you read it, everything will be clear to you.

No comments:
Post a Comment
Note: Only a member of this blog may post a comment.